Porsche

Porsche Boxster Parts Diagram

Convertible Top Hinge Lever Porsche 987 Boxster Mki Mkii 98756157 Design 911
www.design911.com

Inner Door Release Bowden Cable Porsche 996 986 Boxster 99653732003 Design 911
www.design911.com

Painted 2009 2012 Porsche Boxster Genuine Oem Rear Tow Hook Cover
www.paintedoemparts.com

2013 Porsche Boxster Manual Test Review Car And Driver
www.caranddriver.com

Porsche Boxster Parts
www.autoatlanta.com

29662 2001 Porsche Boxster Parts Diagram Wiring Schematic Wiring Library
standingby.redbull.com

International 986 Parts Diagram Diagram Base Website Parts Diagram Umldiagramsymbols Recht Dd De
umldiagramsymbols.recht-dd.de

Cover Porsche 986 555 591 01 C02 Sunset Porsche Parts
www.sunsetporscheparts.com

A Tale Of Two Porsche Seven Speeds Manual And Pdk Tech Dept Car And Driver
www.caranddriver.com

Porsche Boxster Parts
www.paragon-products.com

Https Encrypted Tbn0 Gstatic Com Images Q Tbn 3aand9gcspwdxzx L8 Jomuqcgn0pnvbf5fmsnafebbas2ps9kny1dxuoo Usqp Cau
encrypted-tbn0.gstatic.com

Pelican Parts Diagrams Porsche Boxster 986 Porsche 914 Porsche Boxster
www.pinterest.co.uk

Buy Porsche Fuel Parts Auto Electrical Wiring Diagram
instaimage.ooo

Stuck Convertible Top Manual Operation 986 Forum For Porsche Boxster Cayman Owners
986forum.com

Porsche Boxster Boxster S Service Manual 1997 2004 Bentley Publishers 9780837616452 Amazon Com Books
www.amazon.com

3m Porsche Boxster 2013 2016 Bumper Paint Protection Kit Clear Bra Ppf
www.rvinyl.com

Https Encrypted Tbn0 Gstatic Com Images Q Tbn 3aand9gctykzxg2j7oljxubiwq6leflcwvxp2hsy Bzhbhlwtvcdnujit Usqp Cau
encrypted-tbn0.gstatic.com

How To Reset Porsche 718 Boxster Tpms Tire Pressure Sensor Light
enginepartsdiagram.com

Wtb 3 2 Engine Cooling Tin Pelican Parts Technical Bbs Engineering Used Parts Tin
www.pinterest.com

3m Porsche 718 Boxster 2017 2020 Bumper Paint Protection Kit Clear Bra Ppf
www.rvinyl.com

7b03bc Porsche Boxster Roof Wiring Diagram Wiring Resources
isabella-lk0103.changeip.com

Porscheconvertible Top Frame Single Parts
varuosad.alvadi.ee

Front End Individual Parts Porsche Boxster 2 Generat
www.ilcats.ru

Buy Porsche 996 911 1997 2005 Boxster S 986 3 2l 1999 02 Cabrio Design 911
www.design911.com

Porsche 928 Technical Articles Pelican Parts
www.pelicanparts.com

Porsche Boxster Parts Accessories 986 987 981 718
www.suncoastparts.com

Porsche Boxster Engine Conversion Project 986 987 1997 08 Pelican Parts Technical Article
www.pelicanparts.com

2019 1986 Full Set Porsche Workshop Super Luxury Car Service Center Facebook
www.facebook.com

Porsche Boxster Parts
www.autoatlanta.com

Porsche 987 Boxster Convertible Top Transmission 98756117901 98756118001 9875611 Design 911
www.design911.com

Airpump Removal Help Please 986 Forum For Porsche Boxster Cayman Owners
986forum.com

Spare Part Codes Stuttcars Com
www.stuttcars.com

Amazon Com Porsche 986 97 99 Micro Switch For Convertible Top Latch Automotive
www.amazon.com

Porsche 987 Boxster Convertible Top Guide Arm Cover 9875614450001c 9875614460001c 98756144 Design 911
www.design911.com

Porsche Boxster 1999 Porsche Boxster Soft Tops Boxster
www.pinterest.com

Engine For 2008 Porsche Boxster Sunset Porsche Parts
www.sunsetporscheparts.com

Porsche Boxster Parts
www.autoatlanta.com

Mz 6320 2000 Porsche Boxster Engine Diagram Download Diagram
zidur.olyti.embo.ungo.momece.mohammedshrine.org

Find Porsche Boxster 986 1996 1997 1998 1999 2000 2001 2002 2003 2004 Workshop Manual Motorcycle In New York New York United States For Us 14 95
www.2040-parts.com

Vv 1971 Porsche Boxster 987 Wiring Diagram Wiring Diagram
isop.geis.kicep.nuvit.over.lexor.rimen.wigeg.mohammedshrine.org

Porsche 718 Boxster 2017 2017 Manual Transmission Sensor Single Parts Porsche Pet Online Nemiga Com
nemigaparts.com

A Guide To The Meaning Behind Porsche S Part Numbers Flatsixes
flatsixes.com

Ts 8287 Boxster Wiring Harness Schematic Wiring
alia.inama.mohammedshrine.org

Buy Porsche Boxster 986 987 981 1997 2016 Dashboard Parts Design 911
www.design911.com

Buy Porsche Boxster 986 987 981 1997 2016 Boxster 987 Mkii 2 9l 2009 2012 Seat Parts Design 911
www.design911.com

Porsche Boxster Parts
www.autoatlanta.com

Door Shell Installation Parts Door Lock Porsche Boxster
www.ilcats.ru

Oxygen Sensor Porsche 986 606 126 01 Sunset Porsche Parts
www.sunsetporscheparts.com

Ko 4149 Porsche Boxster Engine Diagram Free Diagram
erek.norab.denli.mohammedshrine.org

Porschecontrolarms987
www.vertexauto.com

Porsche Boxster Parts
www.autoatlanta.com

Ko 4149 Porsche Boxster Engine Diagram Free Diagram
erek.norab.denli.mohammedshrine.org

986 Control Arms European Parts Solution
www.europeanpartssolution.com

Porsche Boxster Parts
www.autoatlanta.com

Https Encrypted Tbn0 Gstatic Com Images Q Tbn 3aand9gcrctndt Iezrah90kxfeevcq Hxfaezdqvowyohzk3fqkp7gio Usqp Cau
encrypted-tbn0.gstatic.com

Bv 3362 Porsche Cayman Engine Wiring Diagram Wiring Diagram
wida.tran.kapemie.mohammedshrine.org

Mz 6320 2000 Porsche Boxster Engine Diagram Download Diagram
zidur.olyti.embo.ungo.momece.mohammedshrine.org

Porsche Oem 09 12 Boxster 3 4l H6 Exhaust Support 98711104430 Ebay
www.ebay.com

How Do I Manually Lower The Convertible Top On A 1997 Porsche Boxster
www.justanswer.com

Stuck Convertible Top Manual Operation 986 Forum For Porsche Boxster Cayman Owners
986forum.com

Https Encrypted Tbn0 Gstatic Com Images Q Tbn 3aand9gcq 4z3yd9qmz6lljhd5ppficzlxaltznmtkcowxejxorykfh Sj Usqp Cau
encrypted-tbn0.gstatic.com

Porsche Boxster Parts
www.autoatlanta.com

2003 Porsche Boxster 986 Service Repair Manual
www.slideshare.net

Porsche Boxster 2005 2008 Air Conditioner Single Parts Porsche Pet Online Nemiga Com
nemigaparts.com

Checkenginelightcausedbymassairflowsensor Mikefocke2
sites.google.com

Porsche Boxster 986 Prekom
prekom.si

Porsche Boxster Parts
www.autoatlanta.com

Porsche Boxster Front Bumper Tow Eye Cap 986505551100g2x 98650551101g2x Design 911
www.design911.com

Bv 3362 Porsche Cayman Engine Wiring Diagram Wiring Diagram
wida.tran.kapemie.mohammedshrine.org

Vacuum Line Clarification 986 Forum For Porsche Boxster Cayman Owners
986forum.com

Buy Porsche 996 911 1997 2005 Boxster S 986 3 2l 1999 02 Cabrio Design 911
www.design911.com

986 Spec Boxsters Tuners Motorsports
tunersmotorsports.com

Buy Porsche Boxster 986 987 981 1997 2016 Cabrio Design 911
www.design911.com

Https Encrypted Tbn0 Gstatic Com Images Q Tbn 3aand9gcquq5kmiarcptg8ydt5wmhtszzfwvm9fyggoa Usqp Cau

Porsche Boxster Convertible Top Repair 986 987 1997 08 Pelican Parts Technical Article
www.pelicanparts.com

Latch Porsche 986 561 017 02 A09 Sunset Porsche Parts
www.sunsetporscheparts.com

Porsche Boxster Differential Manual Transmission Fluid Change 986 987 1997 08 Pelican Parts Technical Article
www.pelicanparts.com

Amazon Com Exhaust Manifold Bolt M8 X 28 Porsche 986 Boxster 996 997gt3 Automotive
www.amazon.com

Porsche Boxster Engine Conversion Project 986 987 1997 08 Pelican Parts Technical Article
www.pelicanparts.com

Porsche Boxster Spyder 2016 2016 Manual Transmission Single Parts Porsche Pet Online Nemiga Com
nemigaparts.com

Parts Com Porsche Voltage Regulator Se Partnumber 99661030800
parts.com

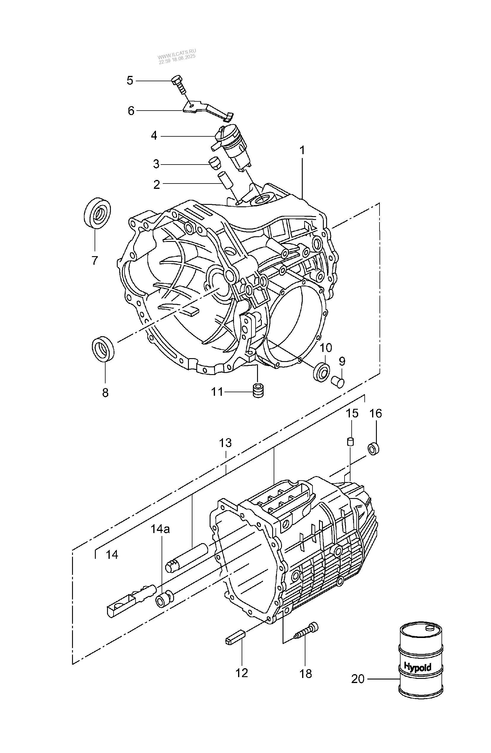
Replacement Transmission Gear Housing Porsche Boxster
www.ilcats.ru

A67a3d0 2003 Porsche Boxster Fuse Diagram Wiring Resources
71.oxford-studentenfutter.de

Porsche Boxster Parts
www.autoatlanta.com

Mounts For 2012 Porsche Boxster Sunset Porsche Parts
www.sunsetporscheparts.com

Porscheclutch
varuosad.alvadi.ee

Porsche Convertible Top Fix Youtube
www.youtube.com

Porsche Boxster Parts
www.autoatlanta.com

Boxster Project 68 Front Bumper Pelican Parts Forums
forums.pelicanparts.com

Porsche Boxster Parts
www.autoatlanta.com

Porsche Boxster Parts Partsgeek Com
www.partsgeek.com

Porsche Boxster 1997 2004 Parts Manual Tradebit
www.tradebit.com

Vacuum Line Question 986 Forum For Porsche Boxster Owners And Others Porsche Boxster This Or That Questions Boxster
www.pinterest.com

Buy Porsche 996 911 1997 2005 Boxster S 986 3 2l 1999 02 Cabrio Design 911
www.design911.com

0547663 Porsche 993 Radio Wiring Diagram Wiring Library
standingby.redbull.com

Porsche 987 Rear Bumper Cover Removal Boxster Tips
boxstertips.com

Porsche Boxster 5 Hidden Features Beatthebush Youtube
m.youtube.com

Porsche Boxster Parts
www.autoatlanta.com

Uxvl 444 Porsche Gt3 Wiring Diagram Diagram Base Website Wiring Diagram Drawioz Missero It
drawioz.missero.it

Mz 6320 2000 Porsche Boxster Engine Diagram Download Diagram
zidur.olyti.embo.ungo.momece.mohammedshrine.org

Cover Porsche 986 563 551 00 B12 Sunset Porsche Parts
www.sunsetporscheparts.com

Porsche Boxster Parts
www.autoatlanta.com

Porsche Boxster Parts
www.autoatlanta.com

Mr 2329 2000 Porsche Boxster Engine Diagram Download Diagram
ehir.hemt.rally.hapolo.stre.tobiq.emba.mohammedshrine.org

close